Toyota Tacoma manuals

Toyota Tacoma (2015-2018) Service Manual: Disposal

DISPOSAL

PROCEDURE

1. DISPOSE OF BRAKE BOOSTER ACCUMULATOR ASSEMBLY

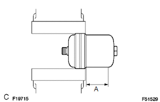
(a) Place the brake booster accumulator in a vise and cover it with a cloth.

(a) Place the brake booster accumulator in a vise and cover it with a cloth.

(b) Slowly cut a hole on the brake booster accumulator side in the A portion shown in the illustration on the left. And discharge the gas and liquid inside.

NOTICE:

  • As gas may spray out, cover the brake booster accumulator with a cloth when performing the operation.
  • Work slowly and do not cut the hole too quickly or suddenly.
  • Wear protective glasses during the operation.

(c) When the outer body of the brake booster accumulator is cut, gas and liquid discharge.

HINT:

  • The gas is colorless, odorless and nonpoisonous nitrogen gas.
  • The liquid is brake fluid.
Reassembly
REASSEMBLY PROCEDURE 1. INSTALL BRAKE BOOSTER ACCUMULATOR ASSEMBLY (a) Place the brake booster pump in a vise with a cloth. (b) Install the brake booster accumulator pipe, compression spring and ...

Installation
INSTALLATION PROCEDURE 1. INSTALL HYDRAULIC BRAKE BOOSTER (a) Install a new brake booster gasket onto the hydraulic brake booster. (b) Install the hydraulic brake booster with the 4 nuts. Torque: ...

Other materials:

Status Signal Circuit
DESCRIPTION This circuit sends a smart key system status signal from the certification ECU (smart key ECU assembly) to the mobile wireless charger cradle assembly. Based on this signal, the mobile wireless charger cradle assembly suspends or resumes wireless charging. WIRING DIAGRAM CAUTI ...

A-TRAC Indicator Light Remains ON
DESCRIPTION This is the A-TRAC main switch circuit. When the A-TRAC switch is turned on with the transfer in L4, the A-TRAC function is available and the A-TRAC indicator light illuminates. WIRING DIAGRAM CAUTION / NOTICE / HINT NOTICE: When replacing the skid control ECU (master ...

FCM Destination Information Uninitialized (C1AAA)
DESCRIPTION When the forward recognition camera is replaced with a new one, the new forward recognition camera attempts to store the country specification information received from the main body ECU (multiplex network body ECU). If the forward recognition camera cannot store the country speci ...

В© 2011-2026 Copyright www.ttguide.net