Toyota Tacoma manuals

Toyota Tacoma (2015-2018) Service Manual: Pressure Control Solenoid "C" Actuator Stuck Off (P07957F)

SYSTEM DESCRIPTION

The ECM uses the vehicle speed signal and signals from the transmission revolution sensors (NT, SP2) to detect the actual gear (1st, 2nd, 3rd, 4th, 5th or 6th gear).

The ECM compares the actual gear with the shift schedule in the ECM memory to detect mechanical problems of the shift solenoid valves, transmission valve body assembly or automatic transmission assembly (clutch, brake or gear etc.).

DTC No.

DTC Detection Condition

Trouble Area

SAE

P07957F

Either condition is met (2 trip detection logic):

  • The engine revs freely when a shift to 2nd or 6th gear is commanded.
  • The following condition is met twice:

    When a shift to 1st gear is commanded, 2nd gear is engaged.

  • Shift solenoid valve SL3 remains open or closed.
  • Transmission valve body assembly is blocked.
  • Automatic transmission assembly (clutch, brake or gear etc.)

P0796

MONITOR DESCRIPTION

The ECM commands gear shifts by turning the shift solenoid valves on and off. According to the input turbine speed and output shaft speed, the ECM detects the actual gear (1st, 2nd, 3rd, 4th, 5th or 6th gear). When the gear commanded by the ECM and the actual gear are not the same, the ECM illuminates the MIL and stores the DTC.

MONITOR STRATEGY

Related DTCs

P0796:

Shift solenoid valve SL3/OFF malfunction

Shift solenoid valve SL3/ON malfunction

Required sensors/Components

Shift solenoid valve SL3, Transmission revolution sensor (NT), Transmission revolution sensor (SP2), Crankshaft position sensor (NE)

Frequency of operation

Continuous

Duration

OFF malfunction (A) and (B): 0.5 sec.

OFF malfunction (C) and (D): 0.8 sec.

ON malfunction: 0.8 sec.

MIL operation

2 driving cycles

Sequence of operation

None

TYPICAL ENABLING CONDITIONS

All:

The monitor will run whenever the following DTCs are not stored

P0712, P0713 (TFT (ATF temperature) sensor circuit)

P0115, P0117, P0118 (ECT (Engine coolant temperature) sensor circuit)

P0717, P07BF, P07C0 (Turbine speed sensor circuit)

P0722, P077C, P077D (Output speed sensor circuit)

P0335 (Crankshaft position sensor circuit (This condition applies only if using fail-safe))

P0748 (Shift solenoid valve SL1 circuit)

P0778 (Shift solenoid valve SL2 circuit)

P0798 (Shift solenoid valve SL3 circuit)

P2810 (Shift solenoid valve SL4 circuit)

P0327, P0328, P0332, P0333 (KCS (Knock control sensor) circuit)

P0120, P0121, P0122, P0123, P0220, P0222, P0223, P0604, P0606, P060A, P060B, P060D, P060E, P0657, P1607, P2102, P2103, P2111, P2112, P2118, P2119, P2135 (ETCS (Electronic throttle control system))

U0100 (CAN communication system)

TFT (ATF temperature) sensor circuit

Not circuit malfunction

ECT (Engine coolant temperature) sensor circuit

Not circuit malfunction

Turbine speed sensor circuit

Not circuit malfunction

Output speed sensor circuit

Not circuit malfunction

Shift solenoid valve SL1 circuit

Not circuit malfunction

Shift solenoid valve SL2 circuit

Not circuit malfunction

Shift solenoid valve SL3 circuit

Not circuit malfunction

Shift solenoid valve SL4 circuit

Not circuit malfunction

KCS (Knock control sensor) circuit

Not circuit malfunction

ETCS (Electronic throttle control system)

Not system down

CAN communication system

Not system down

Transmission range

"D"

Duration time from shifting "N" to "D"

4 sec. or more

TFT (ATF temperature)

-10°C (14°F) or higher

Engine

Running

OFF malfunction (A):

ECM selected gear

2nd

Throttle valve opening angle

3% or more

ECM indicated pressure value of SL1

1600 kPa (16.3 kgf/cm2, 232 psi)

ECM indicated pressure value of SL2

0.1 kPa (0 kgf/cm2, 0 psi)

ECM indicated pressure value of SL3

1600 kPa (16.3 kgf/cm2, 232 psi)

OFF malfunction (B):

ECM selected gear

6th

Throttle valve opening angle

3% or more

ECM indicated pressure value of SL1

0.1 kPa (0 kgf/cm2, 0 psi)

ECM indicated pressure value of SL2

1600 kPa (16.3 kgf/cm2, 232 psi)

ECM indicated pressure value of SL3

1600 kPa (16.3 kgf/cm2, 232 psi)

OFF malfunction (C):

ECM selected gear

2nd

Vehicle speed

2 km/h (1.2 mph) or more

Throttle valve opening angle:

(When condition "D" is not detected)

7.7% or more at engine speed 1600 rpm

(Condition varies with engine speed)

Throttle valve opening angle:

(When condition "D" is detected)

3% or more at output speed 900 rpm

(Condition varies with output speed)

ECT (engine coolant temperature)

40°C (104°F) or higher

OFF malfunction (D):

Throttle valve opening angle

3% or more at output speed 900 rpm

(Condition varies with output speed)

ON malfunction:

ECM selected gear

1st

Vehicle speed

2 km/h (1.2 mph) to 40 km/h (24.9 mph)

Engine speed - Turbine speed

50 rpm or more

ECT (engine coolant temperature)

40°C (104°F) or higher

TYPICAL MALFUNCTION THRESHOLDS

  • [OFF malfunction]
    • One of the following conditions is met: OFF malfunction (A), (B) or ((C) and (D))
OFF malfunction (A):

Turbine speed - Output speed x 2nd gear ratio

1000 rpm or more

OFF malfunction (B):

Turbine speed - Output speed x 6th gear ratio

1000 rpm or more

OFF malfunction (C) and (D):

Turbine speed / Output speed when output speed less than 1000 rpm

3.3500 to 7.3000

  • [ON malfunction]
    • 2 detections are necessary per driving cycle:
    • 1st detection: temporary flag ON
    • 2nd detection: pending fault code ON
ON malfunction:

Turbine speed / Output speed when output speed less than 1000 rpm

1.9500 to 2.4000

CONFIRMATION DRIVING PATTERN

CAUTION:

When performing the confirmation driving pattern, obey all speed limits and traffic laws.

HINT:

  • After repairs have been completed, clear the DTCs and then check that the vehicle has returned to normal by performing the following All Readiness check procedure.
  • When clearing the permanent DTCs, refer to the Clear Permanent DTC procedure (See page ).
  1. Connect the Techstream to the DLC3.
  2. Turn the ignition switch to ON and turn the Techstream on.
  3. Clear the DTCs (even if no DTCs are stored, perform the clear DTC procedure).
  4. Turn the ignition switch off and wait for 2 minutes or more.
  5. Turn the ignition switch to ON and turn the Techstream on.
  6. Start the engine.
  7. Perform the D Position Shift Test inspection in Road Test (See page HINT: ). [*1]

    HINT:

    [*1] : Normal judgment procedure.

    The normal judgment procedure is used to complete DTC judgment and also used when clearing permanent DTCs.

  8. Enter the following menus: Powertrain / Transmission / Utility / All Readiness.
  9. Input the DTC: P07957F.
  10. Check the DTC judgment result.

    Techstream Display

    Description

    NORMAL

    • DTC judgment completed
    • System normal

    ABNORMAL

    • DTC judgment completed
    • System abnormal

    INCOMPLETE

    • DTC judgment not completed
    • Perform driving pattern after confirming DTC enabling conditions

    N/A

    • Unable to perform DTC judgment
    • Number of DTCs which do not fulfill DTC preconditions has reached ECU memory limit

    HINT:

    • If the judgment result shows NORMAL, the system is normal.
    • If the judgment result shows ABNORMAL, the system has a malfunction.
    • If the judgment result shows INCOMPLETE or N/A, perform the normal judgment procedure again.

CAUTION / NOTICE / HINT

NOTICE:

  • Perform the universal trip to clear permanent DTCs (See page Perform registration and/or initialization when parts related to the ).
  • Perform registration and/or initialization when parts related to the automatic transmission are replaced (See page ).

PROCEDURE

1.

CHECK OTHER DTCS OUTPUT (IN ADDITION TO DTC P07957F)

(a) Connect the Techstream to the DLC3.

(b) Turn the ignition switch to ON.

(c) Turn the Techstream on.

(d) Enter the following menus: Powertrain / Transmission / Trouble Codes.

(e) Read the DTCs using the Techstream.

Result

Result

Proceed to

Only DTC P07957F is output

A

P07957F and other DTCs are output

B

HINT:

If a solenoid is stuck off, DTCs for several solenoids including the malfunctioning solenoid will be detected.

A

GO TO STEP 3

B

2.

PERFORM ACTIVE TEST USING TECHSTREAM (CONTROL THE SHIFT POSITION)

NOTICE:

This test should always be performed with at least 2 people.

(a) Warm up the engine.

(b) Turn the ignition switch off.

(c) Connect the Techstream to the DLC3.

(d) Turn the ignition switch to ON.

(e) Turn the Techstream on.

(f) Enter the following menus: Powertrain / Transmission / Active Test.

(g) According to the display on the Techstream, perform the Active Test.

HINT:

Comparing the gear commanded by the Active Test with the actual gear enables confirmation of the problem (See page Transmission ).

Transmission

Tester Display

Test Part

Control Range

Diagnostic Note

Control the Shift Position

Operates the shift solenoid valves to allow gears to be selected manually.

1st/2nd/3rd/4th/5th/6th

Start/Stop

Can be used to check the operation of the shift solenoid valves.

Up-shifts and down-shifts should be performed consecutively. A 10 second interval is required between gear changes.

Do not down-shift at high speeds. Doing so will damage the automatic transmission.

[Vehicle Condition]

  • 50 km/h (31 mph) or less

HINT:

  • This test can be conducted when the vehicle speed is 50 km/h (31 mph) or less.
  • The 4th to 5th and 5th to 6th up-shift must be performed with the accelerator pedal released.
  • The 6th to 5th and 5th to 4th down-shift must be performed with the accelerator pedal released.
  • Do not operate the accelerator pedal for at least 2 seconds after shifting and do not shift successively.
  • The gear commanded by the ECM is shown in the Data List / Shift Status display on the Techstream.

(h) Compare the ECM commanded gear and the actual gear.

Result

Actual Gear during Malfunction

ECM Commanded Gear

Proceed to

1st

2nd

3rd

4th

5th

6th

Shift solenoid valve SL1

Stuck ON

1st

2nd

3rd

4th

4th

4th

A

Stuck OFF

N*1

N*1

N*1

N*1

5th

6th

Shift solenoid valve SL2

Stuck ON

4th

4th

4th

4th

5th

6th

B

Stuck OFF

1st

2nd

3rd

1st

N*1

N*1

Shift solenoid valve SL3

Stuck ON

2nd

2nd

3rd

4th

5th

6th

C

Stuck OFF

1st

1st

3rd

4th

5th

N*1

Shift solenoid valve SL4

Stuck ON

3rd

3rd

3rd

4th

5th

5th

D

Stuck OFF

1st

2nd

1st

4th

N*1

6th

Shift solenoid valve SLT

Stuck ON

N*2

N*2

N*2

N*2

N*2

N*2

E

Stuck OFF*3

1st

2nd

3rd

4th

5th

6th

HINT:

  • *1: Neutral
  • *2: If shift solenoid valve SLT is stuck on, the line pressure will be low. Therefore, the amount of torque that can be transmitted by each gear is lower than the normal limit. When the engine power exceeds this lowered limit, the engine speed will increase freely.
  • *3: When shift solenoid valve SLT is stuck off, gear shifting is normal.
A

GO TO DTC CHART (RELATED SHIFT SOLENOID VALVE SL1 PERFORMANCE DTC P07457F)

B

GO TO DTC CHART (RELATED SHIFT SOLENOID VALVE SL2 PERFORMANCE DTC P07757F)

D

GO TO DTC CHART (RELATED SHIFT SOLENOID VALVE SL4 PERFORMANCE DTC P28077F)

E

GO TO DTC CHART (RELATED SHIFT SOLENOID VALVE SLT PERFORMANCE DTC P27137F)

C

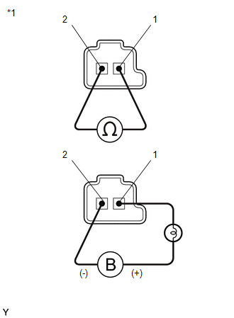
3.

INSPECT SHIFT SOLENOID VALVE SL3

(a) Remove shift solenoid valve SL3 (See page ).

(b) Measure the resistance according to the value(s) in the table below.

Standard Resistance:

Tester Connection

Condition

Specified Condition

1 - 2

20°C (68°F)

5.0 to 5.6 Ω

(c) Apply 12 V battery voltage to the shift solenoid valve and check that the valve moves and makes an operating noise.

OK:

Measurement Condition

Specified Condition

  • Battery positive (+) with a 21 W bulb → Terminal 1
  • Battery negative (-) → Terminal 2

Valve moves and makes an operating noise

Text in Illustration

*1

Shift Solenoid Valve SL3

NG

REPLACE SHIFT SOLENOID VALVE SL3

OK

4.

INSPECT TRANSMISSION VALVE BODY ASSEMBLY

(a) Check the transmission valve body assembly (See page OK: ).

OK:

There is no foreign matter on each valve and they operate smoothly.

OK

REPAIR OR REPLACE AUTOMATIC TRANSMISSION ASSEMBLY

NG

REPAIR OR REPLACE TRANSMISSION VALVE BODY ASSEMBLY

Pressure Control Solenoid "B" Circuit Open (P077513)
DESCRIPTION Changing from 1st to 6th is performed by the ECM turning shift solenoid valves SL1, SL2, SL3 and SL4 on and off. If an open or short circuit occurs in any of the shift solenoid valves ...

Pressure Control Solenoid "C" Circuit Open (P079513)
DESCRIPTION Changing from 1st to 6th is performed by the ECM turning shift solenoid valves SL1, SL2, SL3 and SL4 on and off. If an open or short circuit occurs in any of the shift solenoid valves ...

Other materials:

Air Mix Damper Control Servo Motor Circuit (Passenger Side) (B1441/41)
DESCRIPTION This No. 2 air conditioning radiator damper servo sub-assembly (for front passenger side air mix) is controlled by the air conditioning amplifier assembly and moves the air mix damper (for front passenger side) to the desired position. DTC No. DTC Detection Co ...

Data List / Active Test
DATA LIST / ACTIVE TEST 1. DATA LIST HINT: Using the Techstream to read the Data List allows the values or states of switches, sensors, actuators and other items to be read without removing any parts. This non-intrusive inspection can be very useful because intermittent conditions or signals ...

Operation Check
OPERATION CHECK 1. CHECK WINDOW LOCK FUNCTION (a) Turn the ignition switch ON. (b) Press the window lock switch of the power window regulator master switch assembly. HINT: The illumination (LED) built into the switch knob of each seat does not turn off. (c) Check that the power window fo ...

© 2011-2025 Copyright www.ttguide.net