Toyota Tacoma manuals

Toyota Tacoma (2015-2018) Service Manual: Reassembly

REASSEMBLY

PROCEDURE

1. INSTALL UPPER RADIATOR TANK

(a) Install a new upper radiator tank.

Text in Illustration

*1

Upper Radiator Tank

*2

Core Plate

*a

Correct

*b

Incorrect

(b) Tap the core plate with a plastic hammer until there is no gap between the core plate and upper radiator tank.

2. INSTALL LOWER RADIATOR TANK

HINT:

Perform the same procedures as for the upper radiator tank.

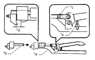
3. ASSEMBLE SST

(a) Install the punch assembly into the overhaul handle by inserting it into the hole in part A as shown in the illustration.

Text in Illustration

*a

SST (Overhaul Handle)

*b

SST (Punch Assembly)

*c

Part A

*d

Dimension B

*e

Stopper Bolt

SST: 09230-01010

09231-01010

09231-01020

(b) While gripping the handle, adjust the stopper bolt so that dimension B is as shown in the illustration.

Dimension B:

8.4 mm (0.331 in.)

4. CAULK CORE PLATE

(a) Gently press SST against the core plate in the order shown in the illustration. After repeating this a few times, fully caulk the core plate by gripping the handle until stopped by the stopper bolt.

Text in Illustration

*1

Radiator Tank

*2

Core Plate

*a

Stopper Bolt

SST: 09230-01010

09231-01010

09231-01020

NOTICE:

  • Do not tap the portions indicated in the illustration or the oil cooler using SST. Use pliers or a similar tool.
  • Be careful not to damage the core plate.

(b) Check the core plate height (H) after completing the caulking.

Plate height (H):

8.7 to 9.1 mm (0.343 to 0.358 in.)

If the height is not as specified, readjust the stopper bolt of the handle, then caulk it again.

5. INSTALL RADIATOR SUPPORT BUSHING

(a) Install the 2 No. 1 radiator support collars and 2 No. 1 radiator support bushings to the radiator assembly.

Text in Illustration

*1

No. 1 Radiator Support Collar

*2

No. 2 Radiator Support Collar

*3

No. 1 Radiator Support Bushing

*4

No. 2 Radiator Support Bushing

*a

Top of Vehicle

*b

Hook

NOTICE:

With the hook of the No. 1 radiator support collar facing towards the top of the vehicle, install the No. 1 radiator support collar.

(b) Install the 2 No. 2 radiator support collars and 2 No. 2 radiator support bushings to the radiator assembly.

6. INSTALL RADIATOR TO SUPPORT SEAL

(a) Install 2 new radiator to support seals to the radiator assembly as shown in the illustration.

Text in Illustration

*a

34 mm (1.34 in.)

*b

38 mm (1.50 in.)

*c

54 mm (2.13 in.)

7. INSTALL RADIATOR DRAIN COCK PLUG

(a) Install a new O-ring to the radiator drain cock plug.

(b) Install the radiator drain cock plug to the radiator assembly.

Installation
INSTALLATION PROCEDURE 1. INSTALL RADIATOR ASSEMBLY (a) Engage the 2 hooks and temporarily install the radiator assembly to the radiator support sub-assembly. (b) Install the radiator assembly w ...

Thermostat
...

Other materials:

Air Conditioning Compressor Magnetic Clutch Circuit
DESCRIPTION When the air conditioning amplifier assembly is turned on, a magnetic clutch on signal is sent from the MGC terminal of the air conditioning amplifier assembly. Then, the MG CLT relay turns on to operate the magnetic clutch assembly. WIRING DIAGRAM CAUTION / NOTICE / HINT NO ...

Disassembly
DISASSEMBLY CAUTION / NOTICE / HINT HINT: Use the same procedure for the RH side and LH side. The following procedure is for the LH side. When removing the No. 2 front wheel opening extension pad or No. 1 front wheel opening extension pad or front wheel opening extension pad, ...

Diagnosis System
DIAGNOSIS SYSTEM 1. DESCRIPTION When troubleshooting a vehicle with the diagnosis system, the only difference from the usual troubleshooting procedure is connecting the Techstream to the vehicle and reading various data output from the vehicle's skid control ECU (brake actuator assembly) ...

В© 2011-2026 Copyright www.ttguide.net