Toyota Tacoma manuals

Toyota Tacoma (2015-2018) Service Manual: Drive Belt

Components

COMPONENTS

ILLUSTRATION

Precaution

Precaution

PRECAUTION

NOTICE:

  • Do not apply or add oil or grease to the belt tensioner to prevent abnormal noises from the belt tensioner pulley, belt squealing, etc.
  • Do not allow oil or grease to adhere to the moving parts of the belt tensioner, as this may cause malfunctions.
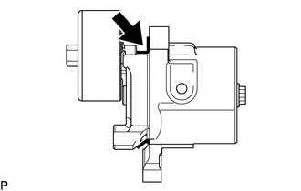
If oil or grease is on the location indicated by the arrow, replace the belt

If oil or grease is on the location indicated by the arrow, replace the belt tensioner.

Installation

INSTALLATION

PROCEDURE

1. INSTALL FAN AND GENERATOR V BELT

(a) Set the fan and generator V belt onto every part.

Text in Illustration

*1

Vane Pump Assembly

*2

Engine Water Pump Assembly

*3

No. 2 Idler Pulley Sub-assembly

*4

Generator Assembly

*5

Cooler Compressor

*6

No. 1 Idler Pulley Sub-assembly

*7

Crankshaft Pulley

*8

V-ribbed Belt Tensioner Assembly

(b) While turning the V-ribbed belt tensioner counterclockwise, remove the pin.

NOTICE:

Make sure that the fan and generator V belt is properly installed to each pulley.

(c) Check that the belt fits properly in the ribbed grooves.

HINT:

Make sure to check by hand that the belt has not slipped out of the grooves on the bottom of the pulley.

On-vehicle Inspection

ON-VEHICLE INSPECTION

PROCEDURE

1. INSPECT FAN AND GENERATOR V BELT

(a) Check the belt for wear, cracks or other signs of damage.

If any of the following defects is found, replace the fan and generator V belt.

  • The belt is cracked.
  • The belt is worn out to the extent that the cords are exposed.
  • The belt has chunks missing from the ribs.

(b) Check that the belt fits properly in the ribbed grooves.

Text in Illustration

*a

Correct

*b

Incorrect

HINT:

Check with your hand to confirm that the belt has not slipped out of the grooves on the bottom of the pulley. If it has slipped out, replace the fan and generator V belt. Install a new fan and generator V belt correctly.

2. INSPECT V-RIBBED BELT TENSIONER ASSEMBLY

(a) Check that nothing gets caught in the V-ribbed belt tensioner by turning it clockwise and counterclockwise.

If the result is not as specified, replace the V-ribbed belt tensioner.

Removal

REMOVAL

PROCEDURE

1. REMOVE FAN AND GENERATOR V BELT

(a) While turning the V-ribbed belt tensioner counterclockwise, align the service hole for the V-ribbed belt tensioner and the belt tensioner fixing position, and then insert a bar of 6 mm (0.236 in.) into the service hole to fix the V-ribbed belt tensioner in place.

HINT:

The pulley bolt for the V-ribbed belt tensioner has a left-hand thread.

(b) Remove the fan and generator V belt.

Removal
REMOVAL PROCEDURE 1. REMOVE TIMING CHAIN COVER ASSEMBLY (See page ) 2. SEPARATE NO. 2 WATER BY-PASS PIPE (for Vacuum Brake Booster) 3. REMOVE VACUUM PUMP ASSEMBLY (for Vacuum Brake Booster) ...

Engine Assembly
...

Other materials:

Power Source Control ECU Malfunction (B2782)
DESCRIPTION DESCRIPTION The certification ECU (smart key ECU assembly) has a power source mode switching function. This DTC is stored when the IGE input (the steering lock motor activation permission signal) sent directly from the certification ECU (smart key ECU assembly) to the steering lo ...

Check Bus 3 Line for Short to +B
DESCRIPTION There may be a short circuit between one of the CAN bus lines and +B when no resistance exists between terminal 6 (CA3H) of the central gateway ECU (network gateway ECU) and terminal 16 (BAT) of the DLC3, or terminal 21 (CA3L) of the central gateway ECU (network gateway ECU) and t ...

Engine Coolant Temperature Sensor
Components COMPONENTS ILLUSTRATION Inspection INSPECTION PROCEDURE 1. INSPECT ENGINE COOLANT TEMPERATURE SENSOR (a) Partially immerse the engine coolant temperature sensor in water and warm up the water. (b) Measure the resistance according to the value(s) in the table bel ...

В© 2011-2026 Copyright www.ttguide.net