Toyota Tacoma manuals

Toyota Tacoma (2015-2018) Service Manual: Installation

INSTALLATION

PROCEDURE

1. INSTALL FRONT CRANKSHAFT OIL SEAL

(a) Using SST and a hammer, tap in a new oil seal until its surface is flush with the timing chain cover assembly edge.

SST: 09223-22010

SST: 09506-35010

NOTICE:

  • Keep the lip free from foreign matter.
  • Do not tap on the oil seal at an angle.
  • Make sure that the oil seal edge does not protrude from the timing chain cover assembly.

2. INSTALL TIMING CHAIN COVER ASSEMBLY

(a) Remove any remaining seal packing material and be careful not to drop any oil on the contact surfaces of the timing chain cover assembly, cylinder head sub-assembly and cylinder block sub-assembly.

Text in Illustration

*a

Cylinder Head and Cylinder Block Side

*b

Timing Chain Cover Side

*c

Clean and Degrease

-

-

NOTICE:

Be sure to clean and degrease the contact surfaces, especially the surfaces indicated in the illustration.

(b) Apply a light coat of engine oil to a new oil pump gasket.

(c) Install the oil pump gasket.

(d) Apply seal packing as shown in the illustration.

Seal packing:

Seal packing:

Toyota Genuine Seal Packing Black, Three Bond 1207B or equivalent

Standard seal diameter:

3.0 to 4.0 mm (0.118 to 0.157 in.)

Text in Illustration

*a

Seal Diameter

Seal Packing

(e) Apply seal packing to the timing chain cover assembly in a continuous line as shown in the following illustration.

Seal packing:

Toyota Genuine Seal Packing Black, Three Bond 1207B or equivalent

Toyota Genuine Seal Packing 1282B, Three Bond 1282B or equivalent

Text in Illustration

*a

20.0 mm (0.787 in.)

*b

9.0 mm (0.354 in.)

*c

3.0 mm (0.118 in.)

*d

Dashed line area (Seal packing: Toyota Genuine Seal Packing Black, Three Bond 1207B or equivalent)

*e

Dashed line area (Seal packing: Toyota Genuine Seal Packing Black, Three Bond 1207B or equivalent)

*f

Alternate long and short dashed line area (Seal packing: Toyota Genuine Seal Packing 1282B, Three Bond 1282B or equivalent)

NOTICE:

  • When the contact surfaces are wet, wipe them with an oil-free cloth before applying seal packing.
  • Install the timing chain cover assembly within 3 minutes and tighten the bolts within 10 minutes after applying seal packing.

Application Specification:

Area

Seal Packing Diameter

Application Position from Inside Seal Line

Continuous Line Area

6.0 mm (0.236 in.) or more

5.0 mm (0.197 in.)

Dashed Line Area

4.5 mm (0.177 in.) or more

3.0 to 4.0 mm (0.118 to 0.157 in.)

Alternate Long and Short Dashed Line Area

3.5 mm (0.138 in.) or more

2.0 to 3.0 mm (0.0787 to 0.118 in.)

(f) Align the oil pump drive rotor spline and crankshaft as shown in the illustration. Install the drive rotor and timing chain cover assembly to the crankshaft.

Text in Illustration

*1

Crankshaft

*a

Drive Rotor Spline

(g) Install the timing chain cover assembly with the 27 bolts, labeled A, B, C and D, and the 2 nuts. Tighten the bolts and nuts in the order shown in the illustration.

Torque:

for bolt A, B and nut :

21 N·m {214 kgf·cm, 15 ft·lbf}

for bolt C and D :

43 N·m {438 kgf·cm, 32 ft·lbf}

Standard Bolt:

Item

Length

Bolt A

28 mm (1.10 in.)

Bolt B

55 mm (2.17 in.)

Bolt C

60 mm (2.36 in.)

Bolt D

40 mm (1.57 in.)

Text in Illustration

*a

Nut

-

-

NOTICE:

  • Make sure that there is no oil on the bolt threads.
  • Do not start the engine for at least 2 hours after installation.
  • Wipe off any seal packing that seeped out around the surfaces of the oil pan sub-assembly and head cover sub-assembly and make sure that there is no seal packing seeping out around the edges.

3. INSTALL OIL PAN SUB-ASSEMBLY

(a) Remove any remaining seal packing material and be careful not to drop any oil on the contact surfaces of the cylinder block sub-assembly, rear oil seal retainer and oil pan sub-assembly.

(b) Install 3 new O-rings to the timing chain cover assembly.

(c) Apply seal packing in a continuous line as shown in the illustration.

Text in Illustration

*a

Seal Packing

Seal packing:

Toyota Genuine Seal Packing Black, Three Bond 1207B or equivalent

Standard seal diameter:

3.0 to 4.0 mm (0.118 to 0.157 in.)

NOTICE:

  • Remove any oil from the contact surface.
  • Install the oil pan sub-assembly within 3 minutes after applying seal packing.

(d) Install the oil pan sub-assembly with the 16 bolts and 2 nuts in the order shown in the illustration.

Text in Illustration

*a

Types of nut and bolt

*b

Tightening Order

Torque:

for bolt A :

10 N·m {102 kgf·cm, 7 ft·lbf}

for bolt B, C, E and nut D :

21 N·m {214 kgf·cm, 15 ft·lbf}

Standard Bolt:

Item

Length

Bolt A

16 mm (0.630 in.)

Bolt B

25 mm (0.984 in.)

Bolt C

45 mm (1.77 in.)

Bolt E

70 mm (2.76 in.)

(e) After tightening the oil pan bolts and nuts wipe off the seal packing material that has seeped out from between the contact surfaces of the cylinder block sub-assembly and oil pan sub-assembly.

Text in Illustration

Wipe off the Seal Packing

4. INSTALL ENGINE OIL LEVEL SENSOR

5. INSTALL OIL STRAINER SUB-ASSEMBLY

5. INSTALL OIL STRAINER SUB-ASSEMBLY

(a) Apply a light coat of engine oil to new O-ring.

(b) Install the O-ring to the oil pan sub-assembly.

(c) Install the oil strainer sub-assembly with the 2 nuts.

Torque:

10 N·m {102 kgf·cm, 7 ft·lbf}

6. INSTALL NO. 2 OIL PAN SUB-ASSEMBLY

(a) Apply seal packing in a continuous line as shown in the illustration.

Text in Illustration

*a

Seal Packing

Seal packing:

Toyota Genuine Seal Packing Black, Three Bond 1207B or equivalent

Standard seal diameter:

2.5 to 3.5 mm (0.0984 to 0.138 in.)

NOTICE:

  • Remove any oil from the contact surface.
  • Install the No. 2 oil pan within 3 minutes after applying seal packing.

(b) Install the No. 2 oil pan with the 10 bolts and 2 nuts. Tighten the bolts and nuts in the order shown in the illustration.

Text in Illustration

Bolt

Nut

Torque:

10 N·m {102 kgf·cm, 7 ft·lbf}

NOTICE:

  • Tighten the nuts first. After tightening the bolts, check that the nuts and bolts are tightened to the specified torque.
  • Do not start the engine for at least 2 hours after the installation.

7. INSTALL SPARK PLUG TUBE GASKET

8. INSTALL CYLINDER HEAD COVER SUB-ASSEMBLY

8. INSTALL CYLINDER HEAD COVER SUB-ASSEMBLY

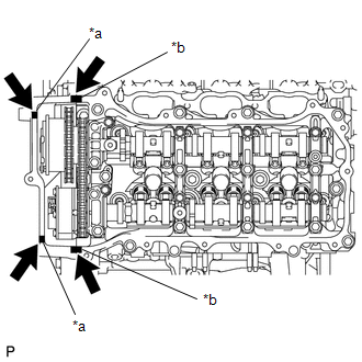
(a) Remove any remaining seal packing material and be careful not to drop any oil on the contact surfaces of the cylinder head, timing chain cover assembly and cylinder head cover sub-assembly.

(b) Apply seal packing as shown in the illustration.

Text in Illustration

*a

5.0 to 7.0 mm (0.197 to 0.276 in.)

*b

2.0 to 3.0 mm (0.0787 to 0.118 in.)

Seal Packing

Seal packing:

Toyota Genuine Seal Packing Black, Three Bond 1207B or equivalent

NOTICE:

  • Remove any oil from the contact surface.
  • Install the cylinder head cover within 3 minutes and tighten the bolts within 15 minutes after applying seal packing.

(c) Install 2 new gaskets.

(d) Install a new camshaft bearing cap oil hole gasket RH.

(e) Install a new cylinder head cover gasket to the cylinder head cover sub-assembly.

(f) Temporarily install the VVT sensor (for exhaust side of bank 1) to the cylinder head cover sub-assembly (See page (g) Temporarily install the VVT sensor (for intake side of bank 1) to the cylinder ).

(g) Temporarily install the VVT sensor (for intake side of bank 1) to the cylinder head cover sub-assembly (See page (h) Temporarily install the cylinder head cover with the 15 bolts. Tighten the ).

(h) Temporarily install the cylinder head cover with the 15 bolts. Tighten the bolts uniformly in several steps.

Text in Illustration

Bolt A

Bolt B

Torque:

10 N·m {102 kgf·cm, 7 ft·lbf}

Standard Bolt:

Item

Length

A

25 mm (0.984 in.)

B

23.5 mm (0.925 in.)

NOTICE:

Do not start the engine for at least 2 hours after installation.

9. INSTALL CYLINDER HEAD COVER SUB-ASSEMBLY LH

(a) Remove any remaining seal packing material and be careful not to drop any oil on the contact surfaces of the cylinder head sub-assembly, timing chain cover assembly and cylinder head cover sub-assembly LH.

(b) Apply seal packing as shown in the illustration.

Text in Illustration

*a

5.0 to 7.0 mm (0.197 to 0.276 in.)

*b

2.0 to 3.0 mm (0.0787 to 0.118 in.)

Seal Packing

Seal packing:

Toyota Genuine Seal Packing Black, Three Bond 1207B or equivalent

NOTICE:

  • Remove any oil from the contact surface.
  • Install the cylinder head cover sub-assembly LH within 3 minutes and tighten the bolts within 15 minutes after applying seal packing.

(c) Install 2 new gaskets.

(d) Install a new camshaft bearing cap oil hole gasket LH.

(e) Install a new No. 2 cylinder head cover gasket to the cylinder head cover sub-assembly LH.

(f) Temporarily install the VVT sensor (for exhaust side of bank 2) to the cylinder head cover sub-assembly LH (See page (g) Temporarily install the VVT sensor (for intake side of bank 2) to the cylinder ).

(g) Temporarily install the VVT sensor (for intake side of bank 2) to the cylinder head cover sub-assembly LH (See page (h) Temporarily install the cylinder head cover sub-assembly LH with the 16 bolts. ).

(h) Temporarily install the cylinder head cover sub-assembly LH with the 16 bolts. Tighten the bolts uniformly in several steps.

Text in Illustration

Bolt A

Bolt B

Torque:

10 N·m {102 kgf·cm, 7 ft·lbf}

Standard Bolt:

Item

Length

A

25 mm (0.984 in.)

B

23.5 mm (0.925 in.)

NOTICE:

Do not start the engine for at least 2 hours after installation.

10. SET FUEL PUMP ASSEMBLY

11. TEMPORARILY INSTALL NO. 1 FUEL PIPE SUB-ASSEMBLY

11. TEMPORARILY INSTALL NO. 1 FUEL PIPE SUB-ASSEMBLY

12. INSTALL FUEL PUMP ASSEMBLY

12. INSTALL FUEL PUMP ASSEMBLY

13. INSTALL NO. 1 FUEL PIPE SUB-ASSEMBLY

13. INSTALL NO. 1 FUEL PIPE SUB-ASSEMBLY

14. INSTALL CRANKSHAFT PULLEY

14. INSTALL CRANKSHAFT PULLEY

(a) Using SST, install the crankshaft pulley with the pulley set bolt.

Text in Illustration

*a

Hold

Turn

SST: 09213-54015

91651-60855

SST: 09330-00021

Torque:

260 N·m {2651 kgf·cm, 192 ft·lbf}

15. INSTALL OIL FILTER BRACKET SUB-ASSEMBLY (w/ Oil Cooler)

(a) Install the oil filter bracket sub-assembly and a new gasket with the 2 nuts and bolt.

Torque:

21 N·m {214 kgf·cm, 15 ft·lbf}

16. INSTALL OIL FILTER BRACKET SUB-ASSEMBLY (w/o Oil Cooler)

(a) Install the oil filter bracket sub-assembly and a new gasket with the 2 nuts and bolt.

Torque:

21 N·m {214 kgf·cm, 15 ft·lbf}

17. CONNECT ENGINE OIL PRESSURE SWITCH ASSEMBLY CONNECTOR

(a) Engage the clamp and connect the connector to the engine oil pressure switch.

18. INSTALL V-RIBBED BELT TENSIONER ASSEMBLY

19. INSTALL NO. 2 IDLER PULLEY SUB-ASSEMBLY

19. INSTALL NO. 2 IDLER PULLEY SUB-ASSEMBLY

20. INSTALL NO. 1 IDLER PULLEY SUB-ASSEMBLY

20. INSTALL NO. 1 IDLER PULLEY SUB-ASSEMBLY

21. INSTALL WATER OUTLET

21. INSTALL WATER OUTLET

22. INSTALL NO. 3 WATER BY-PASS HOSE

22. INSTALL NO. 3 WATER BY-PASS HOSE

23. INSTALL NO. 2 WATER BY-PASS HOSE

23. INSTALL NO. 2 WATER BY-PASS HOSE

24. INSTALL NO. 1 WATER BY-PASS HOSE

24. INSTALL NO. 1 WATER BY-PASS HOSE

25. INSTALL NO. 5 WATER BY-PASS HOSE

25. INSTALL NO. 5 WATER BY-PASS HOSE

26. INSTALL NO. 1 WATER BY-PASS PIPE SUB-ASSEMBLY (w/ Oil Cooler)

26. INSTALL NO. 1 WATER BY-PASS PIPE SUB-ASSEMBLY (w/ Oil Cooler)

27. INSTALL CAMSHAFT TIMING OIL CONTROL SOLENOID ASSEMBLY (for Intake Side of

27. INSTALL CAMSHAFT TIMING OIL CONTROL SOLENOID ASSEMBLY (for Intake Side of Bank 1)

28. INSTALL CAMSHAFT TIMING OIL CONTROL SOLENOID ASSEMBLY (for Exhaust Side of

28. INSTALL CAMSHAFT TIMING OIL CONTROL SOLENOID ASSEMBLY (for Exhaust Side of Bank 1)

29. INSTALL CAMSHAFT TIMING OIL CONTROL SOLENOID ASSEMBLY (for Intake Side of

29. INSTALL CAMSHAFT TIMING OIL CONTROL SOLENOID ASSEMBLY (for Intake Side of Bank 2)

30. INSTALL CAMSHAFT TIMING OIL CONTROL SOLENOID ASSEMBLY (for Exhaust Side of

30. INSTALL CAMSHAFT TIMING OIL CONTROL SOLENOID ASSEMBLY (for Exhaust Side of Bank 2)

31. INSTALL ENGINE OIL LEVEL DIPSTICK GUIDE

31. INSTALL ENGINE OIL LEVEL DIPSTICK GUIDE

32. INSTALL IGNITION COIL ASSEMBLY

32. INSTALL IGNITION COIL ASSEMBLY

33. INSTALL ENGINE ASSEMBLY

33. INSTALL ENGINE ASSEMBLY

(See page Reassembly Reassembly )

Removal
REMOVAL PROCEDURE 1. REMOVE ENGINE ASSEMBLY (See page ) 2. REMOVE IGNITION COIL ASSEMBLY 3. REMOVE ENGINE OIL LEVEL DIPSTICK GUIDE 4. REMOVE CAMSHAFT TIMING OIL CONTROL SOLENOID ASSEMBLY ...

Reassembly
REASSEMBLY PROCEDURE 1. INSTALL OIL PUMP COVER (a) Apply fresh engine oil to the drive and driven rotors. (b) Place the drive and driven rotors into the timing chain cover assembly ...

Other materials:

System Description
SYSTEM DESCRIPTION 1. SYSTEM FUNCTION Function Outline Push-button start function When the key is brought into the vehicle and verified, this function changes the power source or starts the engine when the engine switch and brake pedal are ...

Open in One Side of Bus 3 Branch Line
DESCRIPTION When the CAN bus main lines are normal (no open, short to ground, short to +B or short between lines) and there is an ECU or sensor on the "Communication Bus Check" screen that is indicated as not communicating or whose connection status on the "Communication Bus Ch ...

Portable Player cannot be Operated Using In-vehicle Device or Track Information is not Displayed on In-vehicle Device
PROCEDURE 1. CHECK USING ANOTHER "Bluetooth" AUDIO COMPATIBLE VEHICLE OF SAME MODEL (a) Check if track information is displayed normally on another "Bluetooth" audio compatible vehicle of the same model. OK: Track information is displayed no ...

© 2011-2025 Copyright www.ttguide.net