Toyota Tacoma manuals

Toyota Tacoma (2015-2018) Service Manual: Disposal

DISPOSAL

CAUTION / NOTICE / HINT

CAUTION:

Before performing pre-disposal deployment of any SRS part, review and closely follow all applicable environmental and hazardous material regulations. Pre-disposal deployment may be considered hazardous material treatment.

PROCEDURE

1. PRECAUTION

CAUTION:

  • An airbag or pretensioner may be activated by static electricity. To prevent this, be sure to touch a metal surface with your bare hands to discharge static electricity before performing this procedure.
  • Never dispose of a front seat airbag assembly with an undeployed airbag.
  • The airbag produces an exploding sound when it is deployed, so perform the operation outdoors and where it will not create a nuisance to nearby residents.
  • When deploying the airbag, always use the specified SST (SRS Airbag Deployment Tool). Perform the operation in a place away from electrical noise.
  • When deploying the airbag, perform the operation at least 10 m (32.8 ft.) away from the front seat airbag assembly.
  • The front seat airbag assembly becomes extremely hot when the airbag is deployed, so do not touch it for at least 30 minutes after deployment.
  • Use gloves and safety glasses when handling a front seat airbag assembly with a deployed airbag.
  • Do not apply water etc. to a front seat airbag assembly with a deployed airbag.
  • Always wash your hands with water after completing the operation.

HINT:

When scrapping a vehicle equipped with the SRS or disposing of the front seat airbag assembly, be sure to deploy the airbag first in accordance with the procedure described below. If any abnormality occurs with the airbag deployment, contact the SERVICE DEPT. of TOYOTA MOTOR SALES, U.S.A., INC.

2. DISPOSE OF FRONT SEAT AIRBAG ASSEMBLY (When Installed in Vehicle)

NOTICE:

  • When disposing of the front seat airbag assembly, never use the customer's vehicle to deploy the airbag.
  • Be sure to observe the following procedure when deploying the airbag.

HINT:

Prepare a battery as the power source to deploy the airbag.

(a) Check the function of SST (See page ).

(b) Read the precaution (See page (c) Disconnect the cable from the negative (-) battery terminal. ).

(c) Disconnect the cable from the negative (-) battery terminal.

CAUTION:

Wait at least 90 seconds after disconnecting the cable from the negative (-) battery terminal to prevent airbag and seat belt pretensioner activation.

(d) Install SST.

(1) Disconnect the connector (yellow colored) from the front seat airbag assembly.

(1) Disconnect the connector (yellow colored) from the front seat airbag assembly.

NOTICE:

When handling the airbag connector, take care not to damage the airbag wire harness.

(2) Connect SST connector to the front seat airbag assembly connector.

SST: 09082-00700

SST: 09082-00820

NOTICE:

To avoid damaging SST connector and wire harness, do not lock the secondary lock of the twin lock.

(3) Move SST at least 10 m (32.8 ft.) away from the front side window of the vehicle.

Text in Illustration

*a

Battery

*b

10 m (32.8 ft.) or more

(4) While maintaining sufficient clearance for the SST wire harness in the front side window, close all doors and windows of the vehicle.

NOTICE:

Take care not to damage the SST wire harness.

(5) Connect the red clip of SST to the positive (+) battery terminal and the black clip of SST to the negative (-) battery terminal.

(e) Deploy the airbag.

(1) Check that no one is inside the vehicle or within a 10 m (32.8 ft.) radius of the vehicle.

(2) Press the SST activation switch and deploy the airbag.

CAUTION:

  • Before deployment, make sure that no one is near the vehicle.
  • The front seat airbag assembly becomes extremely hot when the airbag is deployed, so do not touch it for at least 30 minutes after deployment.
  • Use gloves and safety glasses when handling a front seat airbag assembly with a deployed airbag.
  • Do not apply water etc. to a front seat airbag assembly with a deployed airbag.
  • Always wash your hands with water after completing the operation.

HINT:

The airbag is deployed as the LED of SST activation switch comes on.

3. DISPOSE OF FRONT SEAT AIRBAG ASSEMBLY (When Not Installed in Vehicle)

NOTICE:

Be sure to follow the procedure detailed below when deploying the airbag.

HINT:

Prepare a battery as the power source to deploy the airbag.

(a) Check the function of SST (See page ).

(b) Remove the front seat airbag assembly (See page (c) Using a service-purpose wire harness for the vehicle, tie down the front ).

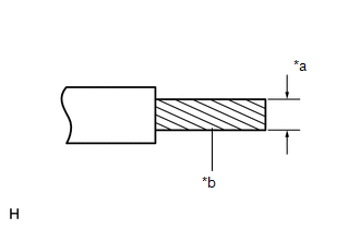
(c) Using a service-purpose wire harness for the vehicle, tie down the front seat airbag assembly to the tire.

Text in Illustration

*a

Wire Diameter

*b

Stripped Wire

Wire:

Cross-sectional area of stripped wire:

1.25 mm2 (0.00193 in.2) or more

CAUTION:

If the wire harness is too thin or an alternative object is used to tie down the curtain shield airbag, it may be snapped by the shock when the airbag is deployed. Always use a wire harness for vehicle use with an area of at least 1.25 mm2 (0.00193 in.2).

HINT:

To calculate the cross-sectional area of the stripped wire section:

Area = 3.14 x (Diameter)2 / 4

(1) Install the 2 nuts to the front seat airbag assembly.

(2) Wind the wire harness around the stud bolts of the front seat airbag assembly as shown in the illustration.

(3) Position the front seat airbag assembly inside the tire.

Text in Illustration

*a

Width

*b

Inner diameter

Tire size:

Must exceed the following dimensions

Width

185 mm (7.28 in.)

Inner diameter

360 mm (1.18 ft.)

CAUTION:

  • Make sure that the wire harnesses are tight. If there is slack in the wire harnesses, the front seat airbag assembly may become loose due to the shock when the airbag is deployed.
  • Always tie down the front seat airbag assembly with the airbag deployment direction facing inside the tire.

NOTICE:

As the tires may be damaged by the airbag deployment, use a tire that you are planning to throw away.

(d) Install SST.

(1) Connect SST connector to the front seat airbag assembly connector.

SST: 09082-00820

(e) Place the tires.

(1) Place at least 2 tires under the tire which the front seat airbag assembly

(1) Place at least 2 tires under the tire which the front seat airbag assembly is tied to.

Text in Illustration

*a

Tire (2 or more)

(2) Place at least 2 tires over the tire which the front seat airbag assembly is tied to. The top tire should have the disc wheel installed.

NOTICE:

  • Do not place SST connector under the tire because it could be damaged.
  • As the disc wheel may be damaged by the airbag deployment, use a disc wheel that you are planning to throw away.
  • As the tires may be damaged by the airbag deployment, use a tire that you are planning to throw away.

(3) Tie the tires together with 2 wire harnesses.

CAUTION:

Make sure that the wire harnesses are tight. Looseness in the wire harnesses results in the tires coming free due to the shock when the airbag is deployed.

(f) Install SST.

(1) Connect SST connector.

SST: 09082-00700

NOTICE:

To avoid damaging SST connector and wire harness, do not lock the secondary lock of the twin lock. Also, secure some slack for SST wire harness inside the tire.

(g) Deploy the airbag.

(1) Connect the red clip of SST to the battery positive (+) terminal and the black clip of SST to the battery negative (-) terminal.

Text in Illustration

*1

Front Seat Airbag Assembly

*a

Battery

*b

10 m (32.8 ft.) or more

(2) Check that no one is within a 10 m (32.8 ft.) radius of the tire which the front seat airbag assembly is tied to.

(3) Press the SST activation switch and deploy the airbag.

CAUTION:

Before deployment, make sure that no one is near the airbag.

HINT:

The airbag is deployed as the LED of the SST activation switch comes on.

(h) Dispose of the front seat airbag assembly.

CAUTION:

  • The front seat airbag assembly becomes extremely hot when the airbag is deployed, so do not touch it for at least 30 minutes after deployment.
  • Use gloves and safety glasses when handling a front seat airbag assembly with a deployed airbag.
  • Do not apply water to a front seat airbag assembly with a deployed airbag.
  • Always wash your hands with water after completing the operation.

(1) Remove the front seat airbag assembly from the tire.

(2) Dispose of front seat airbag assembly, according to local regulations.

Removal
REMOVAL CAUTION / NOTICE / HINT CAUTION: Be sure to read Precaution thoroughly before servicing (See page ). If the side airbag was deployed, replace the front seat airbag assembly ...

Occupant Classification Ecu
...

Other materials:

Terminals Of Ecu
TERMINALS OF ECU 1. CHECK AIR CONDITIONING AMPLIFIER ASSEMBLY (for Automatic Air Conditioning) (See page ) 2. CHECK AIR CONDITIONING AMPLIFIER ASSEMBLY (for Manual Air Conditioning) (See page ) 3. CHECK AIR CONDITIONING CONTROL ASSEMBLY (for Automatic Air Conditioning) (See page ) 4. CHECK ...

Installation
INSTALLATION PROCEDURE 1. INSTALL VANE PUMP (a) Install the vane pump assembly with the 2 bolts. Torque: 21 N·m {214 kgf·cm, 15 ft·lbf} (b) Connect the oil pressure switch connector. NOTICE: Make sure that no oil adheres to the connector. ...

Pressure Control Solenoid "G" Performance (Shift Solenoid Valve SL4) (P2808)
SYSTEM DESCRIPTION The ECM uses the vehicle speed signal and signals from the transmission revolution sensors (NT, SP2) to detect the actual gear (1st, 2nd, 3rd, 4th, 5th or 6th gear). The ECM compares the actual gear with the shift schedule in the ECM memory to detect mechanical problems of t ...

© 2011-2025 Copyright www.ttguide.net